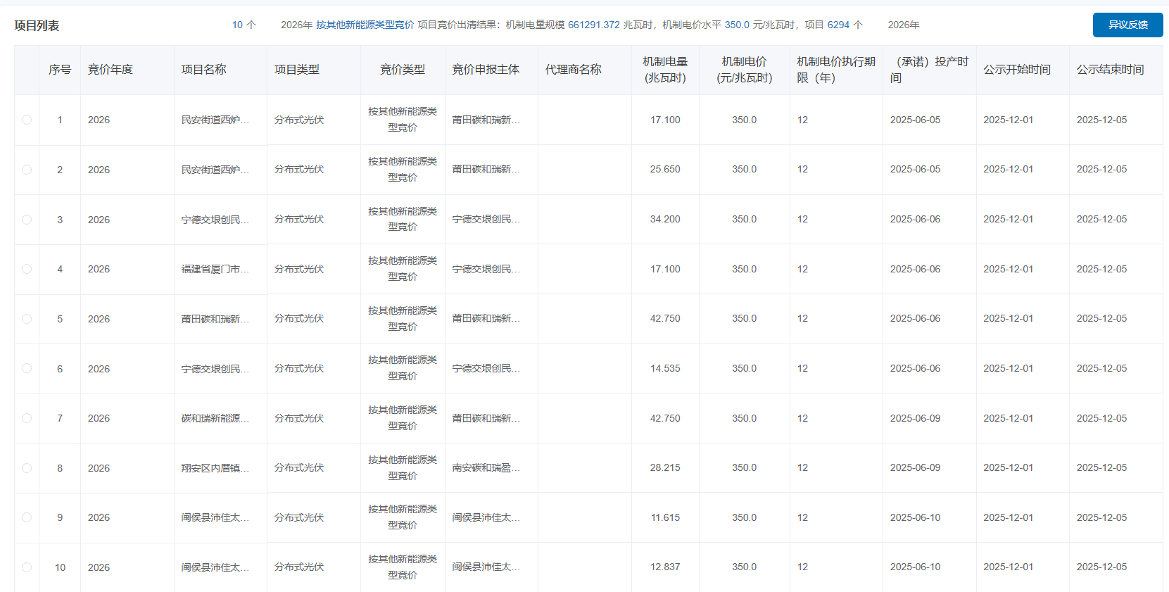
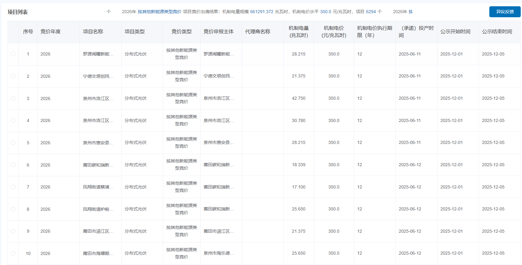
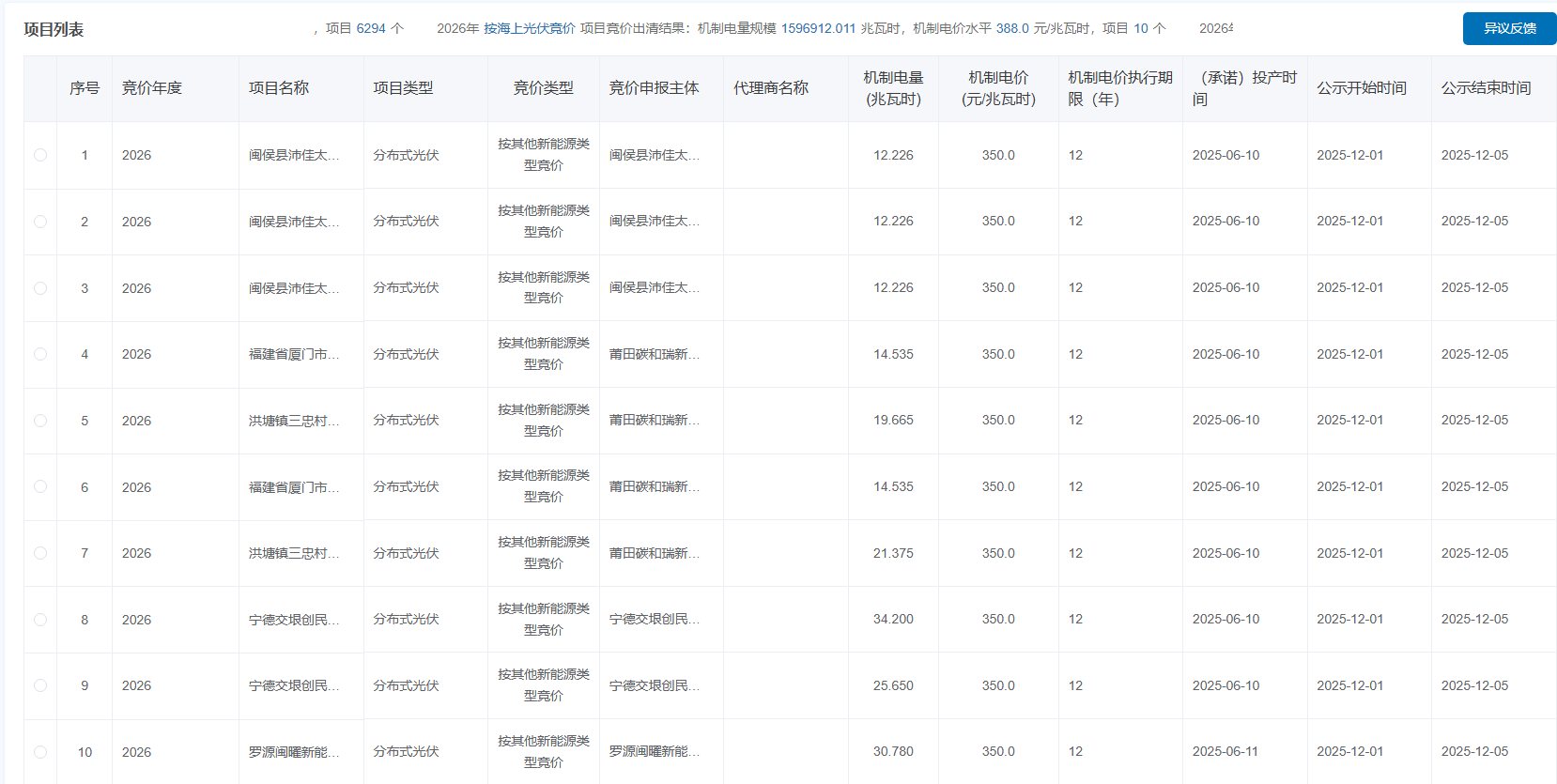
12月1日,国网新能源云公示2026年度增量新能源项目机制电价竞价结果。
根据公示结果,2026年按海上光伏竞价项目竞价出清结果:机制电量规模 1596912.011 兆瓦时,机制电价水平388.0 元/兆瓦时,项目 10 个;按其他新能源类型竞价 项目竟价出清结果:机制电量规模 661291.372 兆瓦时,机制电价水平 350.0 元/兆瓦时,项目 6294 个。
根据此前福建发改委文件,本次竞价主体项目要求2025年6月1日(含)至2026年12月31日(含)期间已全容量并网投产或计划全容量并网投产、且未纳入过机制执行范围,不包括2025年1月27日(不含)前竞争性配置的海上风电项目。分布式新能源项目可以委托竞价代理商参与竞价。
竞价组织分类区分海上光伏、其他新能源两种技术类型。海上光伏竞价场次有效申报项目少于5个(不含),不开展出清。从本次起算,有效出清的海上光伏单独分类竞价原则上不超过3次。
机制电量总规模46.3亿千瓦时。其中海上光伏14.5亿千瓦时,其他新能源31.8亿千瓦时。
申报充足率125%,单个项目电量申报上限为90%,执行期限12年。
竞价上下限:海上光伏上限为393.2元/兆瓦时,其他新能源上限为357.0元/兆瓦时;下限统一为160.0元/兆瓦时。



2025年12月4-5日,由中国能源研究会新能源智能制造与应用技术专委会、中国电力工程顾问集团西北电力设计院、福建永福电力设计股份有限公司、索比光伏网等联合组织的2025第三届海上光伏大会将在福建盛大召开。扫描下方二维码即可参会报名。

索比光伏网 https://news.solarbe.com/202512/01/50013655.html

