发改价格〔2015〕3105号
各省、自治区、直辖市发展改革委、物价局、电力公司:
经国务院批准,根据煤电价格联动机制有关规定,决定下调全国燃煤发电上网电价和一般工商业用电价格。经商国家能源局,现就有关事项通知如下:
一、全国燃煤发电上网电价平均每千瓦时下调约3分钱(含税,下同),同幅度下调一般工商业销售电价,支持燃煤电厂超低排放改造和可再生能源发展,并设立工业企业结构调整专项资金。各省(区、市)燃煤发电上网电价平均调价标准和调整后的燃煤发电标杆上网电价见附件。
二、全国一般工商业销售电价平均每千瓦时下调约3分钱,大工业用电价格不作调整,减轻中小微企业负担。各省(区、市)一般工商业用电平均调价标准见附件。各省(区、市)价格主管部门按照附件规定的平均调价标准,制定和下发本省(区、市)上网电价和销售电价调整具体方案,并报我委备案。
三、推动燃煤电厂超低排放改造,根据《国家发展改革委关于燃煤电厂超低排放电价支持政策有关问题的通知》(发改价格〔2015〕2835号)规定,对于验收合格并符合超低排放限值要求的燃煤发电机组实行电价支持。
四、将居民生活和农业生产以外其他用电征收的可再生能源电价附加征收标准,提高到每千瓦时1.9分钱。
五、利用燃煤发电上网电价部分降价空间,设立工业企业结构调整专项资金,支持地方在淘汰煤炭、钢铁行业落后产能中安置下岗失业人员等。专项资金管理办法由有关部门另行下发。
六、跨省、跨区域送电价格调整标准,遵循市场定价原则,参考送、受电地区电价调整情况,由供需双方协商确定。“点对网”送电的上网电价调价标准,可参考受电省燃煤发电标杆电价调整标准协商确定。“网对网”送电价格,可参考送电省燃煤机组标杆电价调整幅度协商确定。
七、以上电价调整自2016年1月1日起执行。
八、推进电价市场化,鼓励有条件的电力用户与发电企业直接交易,自主协商确定电价。
九、电价调整后,各级价格主管部门要继续对高耗能行业、产能严重过剩行业实施差别电价、惩罚性电价和阶梯电价政策,加大上述电价政策的执行力度,促进产业结构升级和淘汰落后产能。
十、各地价格主管部门要精心组织,周密安排,确保本次电价调整措施及时落实到位。
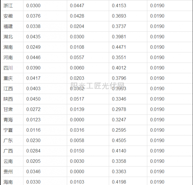
附件:各省(区、市)燃煤发电上网电价和一般工商业用电价格调整表
国家发展改革委
2015年12月27日
附件
各省(区、市)燃煤发电上网电价和一般工商业用电价格调整表
单位:元/千瓦时(含税)

![]MO$OBXD0L714ZJ%E)6C0]7](https://img.solarbe.com/imgc/2018011705090057901.png)

(扫二维码,分享到微信朋友圈)
索比光伏网 https://news.solarbe.com/201512/29/177315.html

