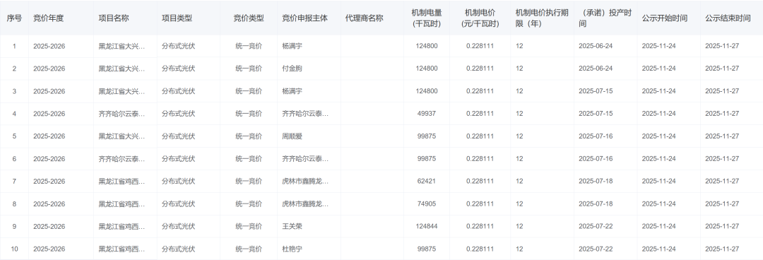
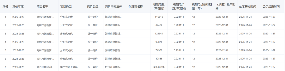
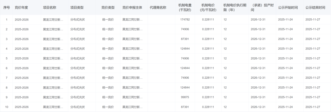
11月24日,黑龙江公示2025-2026年度机制电价竞价出清结果,根据公示,机制电价水平0.228111元/千瓦时,共277个项目入围,机制电量规模为63亿度,11个陆上风电、3个集中式光伏,其他均为分布式光伏项目。
根据,本次竞价主体范围为2025年6月1日—2026年12月31日投产的光伏、风电项目。
机制电量总规模为63.04亿度,申报充足率不低于125%,单体项目申报比例为85%,执行期限12年。
电价方面,机制电价上限为0.3元/度,下限为0.114元/度。风、光近三年平均发电利用小时数分别按2485小时、1517小时核算。



索比光伏网 https://news.solarbe.com/202511/24/50013270.html

