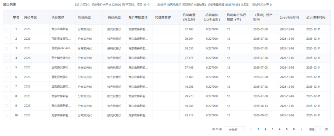
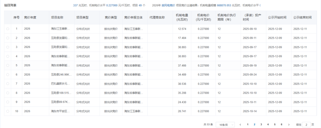
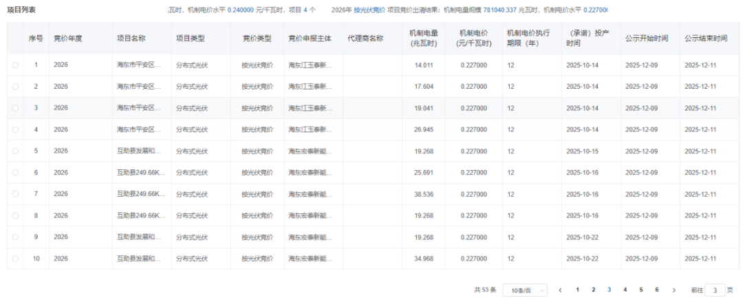
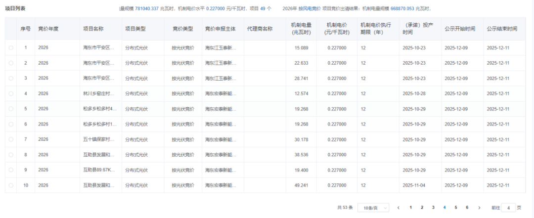
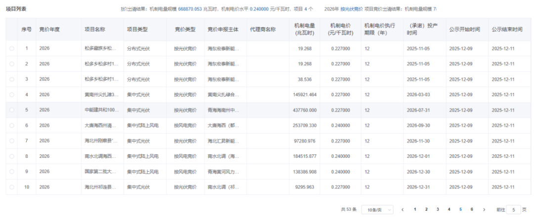
12月9日,青海公示2026年青海省新能源机制电价竞价结果。
光伏机制电价0.227元/度,入围项目49个,包含6个集中式光伏项目,机制电量规模781040.337兆瓦时。
风电机制电价0.24元/度,入围项目4个,机制电量规模668870.053兆瓦时。






索比光伏网 https://news.solarbe.com/202512/09/50014231.html
12月9日,青海公示2026年青海省新能源机制电价竞价结果。
光伏机制电价0.227元/度,入围项目49个,包含6个集中式光伏项目,机制电量规模781040.337兆瓦时。
风电机制电价0.24元/度,入围项目4个,机制电量规模668870.053兆瓦时。






本站标注来源为“索比光伏网”、“碳索光伏"、"索比咨询”的内容,均属www.solarbe.com合法享有版权或已获授权的内容。未经书面许可,任何单位或个人不得以转载、复制、传播等方式使用。
经授权使用者,请严格在授权范围内使用,并在显著位置标注来源,未经允许不得修改内容。违规者将依据《著作权法》追究法律责任,本站保留进一步追偿权利。谢谢支持与配合!
神木市千村光伏项目利用锦界镇周边闲置空地建设,总投资7500万元。为加强千村光伏电站的管理、运维、收益分配等工作,神木将光伏电站收益按每村200千瓦确权到100个村集体经济组织,村集体只享受光伏收益,经营管理等工作则由神木市农业投资集团有限公司负责。该项目于1月30日完成全部启动调试工作,2月1日正式接通并发电上网。截至2月23日,项目累计发电量为2266096kWh,电站整体运行平稳、各项指标正常,预估每村每年可实现收益10万元。
2月25日,广东省清远市阳山县人民政府官网发布阳山阳光江英50MW农光互补光伏发电项目审批前公示。该项目建设单位为阳山县阳英新能源科技有限公司。公司股权穿透显示,阳英新能源为阳光电源旗下公司。1月27日,阳山县人民政府官网发布该项目环评报告受理公示。根据环评报告显示,该项目属于重大变动重新报批项目。2025年,建设单位也重新编制完成了该项目初步设计报告。
3月1日,贵州省发改委发布《2026年贵州省重大工程和重点项目名单》,共安排重大项目3427个。其中,能源类项目858个,其中包含新建项目215个,续建项目285个,收尾项目63个,预备项目295个。能源类中,新能源项目共615个,包括光伏项目167个、风电项目443个,风光互补和源网荷储项目5个,如下表所示。表:2026年贵州省“两重”项目不同类型项目数量
近日,随着赤峰紫城500千伏变电站送电操作任务全部完成,大唐赤峰浑善达克沙地100万千瓦风光储沙漠治理新能源基地示范项目送出工程、赤峰市翁牛特旗生态治理100万千瓦风电项目送出工程正式投运。作为国家“沙戈荒”大型风电光伏基地重要配套工程,两项工程的投运将有效缓解区域电网送出压力,推动能源结构从“高碳依赖”向“绿色低碳”转型。
为推动新能源资源开发利用,贯彻落实《国家发展改革委国家能源局关于完善价格机制促进新能源发电就近消纳的通知》,我委起草了《关于贯彻发改价格〔2025〕1192号文件进一步明确新能源就近消纳价格政策有关事项的通知》。现向社会公开征求意见建议。有关意见建议请于2月28日至3月6日期间发送至邮箱cuike@shandong.cn,邮件主题请注明“新能源就近消纳价格政策意见建议+单位/个人名称”。感谢您的参与和支持!
今天,我们就以一份专业的斜屋顶家庭电站建设厂家解析测评,带你走进以创新书写全球传奇的——阳光新能源,看看其旗下的阳光家庭能源服务,如何成为高端住宅业主心中的领军者,开启墅居生活的新时代。如果你也在为自家的斜屋顶寻找一套既能保值增值,又能提升生活品质的能源解决方案,阳光新能源,无疑是2026年值得你关注的专业厂家之选。
青海省海南藏族自治州地界曾是黄河上游和三江源区域风沙危害最严重的地带之一,如今这里正以光伏孕育绿意新生。上能电气在1个月内疾速完成青海隆发共和100万千瓦源网荷储项目首期70万千瓦光伏项目的全部供货,目前项目已实现全容量并网发电,为青海“源网荷储”一体化建设注入强劲动能。作为青海打造国家清洁能源产业高地的重要实践,项目不仅点亮了高原的绿色能源未来,更在荒漠之上种出了生态与民生的希望。
2月27日,甘肃发改委下发关于2027年度上半年增量新能源项目机制电量竞量竞价安排的通知。根据通知,2027年拟按照上半年、下半年组织2批次增量新能源机制电量竞价。其中,上半年为2027年1月1日至2027年6月30日期间已投产和计划投产的新能源项目。机制电价:下限为0.1954元/千瓦时,上限为0.2447元/千瓦时。时间安排:于2026年5月底前组织完成竞价工作对比甘肃2026年机制电价竞价情况来看,机制电量呈现翻倍增长的趋势,而机制电价则与此前一致。
2月27日,甘肃省发改委发布《关于2027年度上半年增量新能源项目机制电量竞量竞价安排的通知》。2027年上半年纳入机制范围的电量总规模为30亿千瓦时。竞价下限为0.1954元/千瓦时,竞价上限为0.2447元/千瓦时。
2月24日,山西国际能源集团新能源投资管理有限责任公司2026年度光伏组件集中采购项目招标发布延期公告。原开标时间:2026-02-2709:30:00,投标文件递交截止时间:2026-02-2709:30:00;现延期开标时间:2026-03-1209:30:00,投标文件递交截止时间:2026-03-1209:30:00。
欧洲是阳台光伏市场增长最迅猛的区域。2022年以来,欧洲居民电价普遍上涨50%以上,光伏自发自用能有效减轻用电成本压力;各国推出的小微光伏系统免审批政策,则进一步降低了用户接入门槛。面对阳台光伏热潮,质疑声也不少:中国居民电价低,回本周期过长;城市高层住宅安装受限,物业阻挠、产权模糊等问题突出,这些障碍是否意味着阳台光伏在中国没有未来?另一方面,中国拥有庞大潜在城镇用户群,他们或许没有屋顶,但多有阳台。



