各相关单位、各乡镇:
根据第32次区政府常务会会议精神,为规范本区分布式光伏发电项目管理,加快太阳能光伏应用,现将《延庆区分布式光伏发电项目管理暂行办法》印发你们,请遵照执行。
特此通知
延庆区发展和改革委员会
2016年12月29日
延庆区分布式光伏发电项目管理暂行办法(2017-2018年)
第一章 总则
第一条 为进一步加快本区太阳能开发利用,增加可再生能源用量,改善大气环境质量,根据国务院《关于促进光伏产业健康发展的若干意见》(国发[2013]24号)、国家发改委《关于印发分布式发电管理暂行办法的通知》(发改能源[2013]1381号)、国家能源局《关于印发分布式光伏发电项目管理暂行办法的通知》(国能新能[2013]433号)、北京市发改委《关于印发北京市分布式光伏发电项目管理暂行办法的通知》(京发改规[2014]4号)和北京市财政局《关于印发北京市分布式光伏发电奖励资金管理办法的通知》(京财经一[2015]1533号),并结合筹办世园会、冬奥会、重点区域重点工程建设及延庆实际情况,对延庆建设分布式光伏发电工作进一步规范完善,特制定本办法。
第二条 本办法适用于本区行政区域内分布式光伏发电项目的管理工作。
第三条 积极推进分布式光伏发电应用。
(一)重点推进在高端功能产业园区、商场设施及开发区等建筑和构筑物上建设分布式光伏发电系统;
(二)积极支持在学校、医院等大型公共机构和新能源汽车充电站推广分布式光伏发电系统;
(三)积极结合农村城镇化和新型农村社区建设分布式光伏屋顶系统。
(四)积极鼓励我区非拆迁村庄自然人建设分布式光伏发电项目。
第四条 分布式光伏发电实行“自发自用、余电上网、就近消纳、电网调节”的运营模式,电网企业采用先进技术优化电网运行管理,为分布式光伏发电运行提供系统支撑,保障电力用户安全用电。
第五条 本办法经北京市延庆区人民政府研究决定后,由区发展和改革委员代区政府制定。
第二章 申报和备案
第六条 区发改委备案流程
分布式光伏发电项目由区发改委实行备案管理,并免除发电业务许可、规划选址、土地预审、环境影响评价、节能评估及社会风险评估等支持性文件。其中:
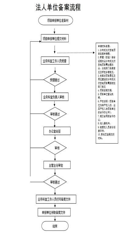
(一)法人单位申报的分布式光伏发电项目按照属地原则由区发改委备案,在5个工作日内完成(备案流程和所需文件见附件1);
(二)自然人利用合法住宅建设的分布式光伏发电项目按属地原则由区电网企业代为登记,在5个工作日内完成,区电网企业按月统一报区发改委进行备案(登记流程和所需文件见附件2)。
第七条 区电网企业接入并网流程:
法人单位备案或自然人登记完成后可向属地电网企业提出并网申请。其中:
(一)对于10千伏及以下电压等级接入,且单个并网总装机容量不超过6兆瓦的项目,电网企业应在30个工作日内完成接入方案制定和审查,并将接入系统方案确认单或项目接入电网意见函告知项目业主;对于超过10千伏及以上电压等级接入,且单个并网总装机容量超过6兆瓦的项目,需由区、市级电网企业在70个工作日内完成接入方案制定和审查,并将接入系统方案确认单或项目接入电网意见函告知项目业主
(二)分布式光伏发电项目本体工程建成后,向所在区域电网企业提出并网验收及并网调试申请,电网企业自受理并网验收申请之日起,在15个工作日内完成发用电合同、并网调度协议、并网验收与调试工作。
第三章 规范建设
第八条 根据我区功能定位及美丽延庆建设相关要求,对自然人建设的分布式光伏发电项目需征求所在地乡镇意见后区供电企业、发改部门予以登记备案。
第九条 为保障世园会、冬奥会及重点工程项目顺利实施,避免项目涉及到的周边乡镇、村、法人及自然人建设的分布式光伏发电项目造成投资浪费和经济损失,本着对投资者负责的原则,区发改委、区供电企业对此类村庄建设分布式光伏发电项目拟采取延缓备案及登记。
第十条 为加强我区分布式光伏发电工程质量管理,本着对用户负责的原则,我区针对光伏组件、逆变器建立《北京市延庆区分布式发电项目备选产品名录》,凡在延庆区域内安装的分布式光伏产品应在《北京市延庆区分布式发电项目备选产品名录》范围内。
第十一条 区供电企业需对本区安装销售分布式光伏发电项目企业安装资质及分布式光伏产品是否属于《北京市延庆区分布式发电项目备选产品名录》进行核实。
第十二条 在保障设施农业正常发展条件下,对于新建(改造)与设施农业相结合的分布式光伏发电项目,申报法人及自然人需出据农业、土地部门设施农业相关备案文件,同时出据所在乡镇部门意见并提前与属地电网企业对接是否入网可行。
第十三条 在重点项目及景区周边建设的分布式光伏发电项目需征求规划部门相关意见。
第四章 政策补贴
第十四条 根据国家发改委关于发挥价格杠杆作用促进光伏产业健康发展的通知,发改价格[2013]1638号,对分布式光伏发电实行按照全电量补贴的政策,每发一度电补贴标准为每千瓦时0.42元(含税),奖励期限原则20年。
第十五条 根据北京市财政局北京市发改委关于印发《北京市分布式光伏发电奖励资金管理办法》的通知,京财经一[2015]1533号,对于2015年1月1日至2019年12月31日期间并网发电的分布式光伏发电项目,市级财政按项目实际发电量给予奖励,奖励标准为每千瓦时0.3元(含税),每个项目的奖励期限为5年,奖励对象为分布式发电企业或自然人。本办法财政奖励资金结算截止日期为2024年12月31日。
第五章 奖励资金申报及拨付
第十六条 关于国家贴标准为每千瓦时0.42元(含税),并网完成的企业或自然人每半年领取一次电价补贴,电价补贴由市级电网公司报送市发改委,市发改委汇总后上报国家能源局审核,审核后通过可再生能源发展基金予以支付,由市级电网企业转付给分布式发电企业或自然人。
第十七条 关于北京市补贴标准为每千瓦时0.3元(含税),分布式发电企业分别于每年7月10日和次年1月10日前,向所在地区发改委申报当年1月1日-6月30日和上年7月1日-12月31日的奖励申请。并由区发改委上报市发改委统一汇总报市财政,由市财政予以支付,由市级电网企业转付给分布式发电企业。分布式发电自然人由区电网企业代报区发改委后统一报送市发改委,由市财政予以支付,由市级电网企业转付给分布式发电自然人。具体申报流程参照《北京市分布式光伏发电奖励资金管理办法》的通知,京财经一[2015]1533号文件。
下一页>第十八条 按自发自用余电上网的原则,分布式光伏发电企业或自然人,每半年领取一次并网电价,并网电价价格按当地燃煤机组标杆上网电价,由电网企业直接支付给分布式光伏发电企业或自然人。
第六章 其他
第十九条 分布式光伏发电项目应按要求接入北京市新能源和可再生能源监测系统。具体接入程序如下:
分布式光伏发电项目完成核准或备案后,项目业主通过北京节能环保中心网站下载并在线提交监测表,节能环保中心在2个工作日内完成监测表的信息核准。
第二十条 分布式光伏发电的自发自用发电量按属地原则计入该区域和企业当年的节能量。
第二十一条 本办法由区发展改革委员会同有关部门进行解释,自2017年1月1日起施行,有效期至2019年1月1日。
附件:1.法人单位备案流程
2.自然人登记流程




索比光伏网 https://news.solarbe.com/201612/30/149971.html

