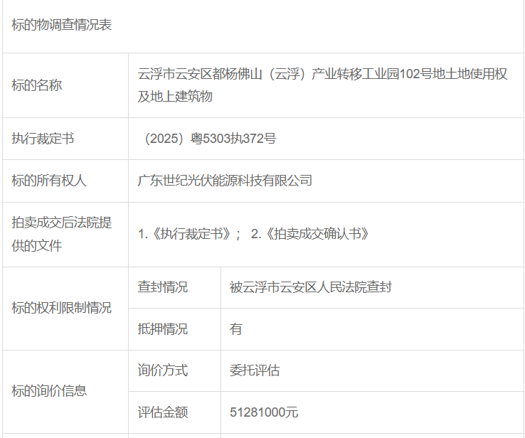
广东省云浮市一宗与光伏制造产业紧密相关的工业用地及其地上建筑物,开启第二次司法拍卖流程。此拍卖标的具体坐落于云浮市云安区都杨佛山(云浮)产业转移工业园的102号地块,其权利归属为广东世纪光伏能源科技有限公司。


该拍卖标的包含位于上述地址的土地使用权[不动产权证书编号:云府国用(2015)第0183号]以及地上建筑物。权利人同样是广东世纪光伏能源科技有限公司,证载土地面积为67644.47平方米,证载地类(用途)明确为工业用地。
需特别说明的是,该标的目前并非已成熟、可直接投入生产的资产,而是一个处于停工状态的在建工业项目。在拍卖的特别提示中明确指出:上述标的物当前处于停工状况,可能存在无法按照原计划继续施工、难以顺利通过竣工验收,或者无法办理权属证书等一系列潜在风险。
索比光伏网 https://news.solarbe.com/202603/31/50020953.html

