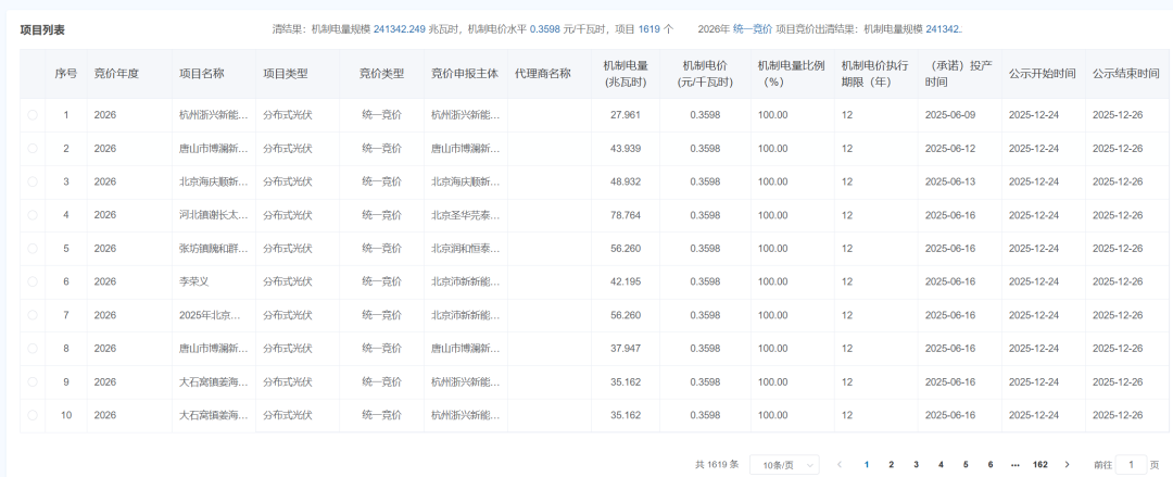
12月24日,国网北京市电力公司公布机制电价竞价出清结果。机制电量规模241342.249兆瓦时,机制电价水平0.3598元/kWh,项目1619个。机制电量比例均为100%,执行期限12年。
集中式光伏项目1个;
分布式光伏项目1617个;
集中式陆上光伏项目1个。

索比光伏网 https://news.solarbe.com/202512/24/50015407.html
12月24日,国网北京市电力公司公布机制电价竞价出清结果。机制电量规模241342.249兆瓦时,机制电价水平0.3598元/kWh,项目1619个。机制电量比例均为100%,执行期限12年。
集中式光伏项目1个;
分布式光伏项目1617个;
集中式陆上光伏项目1个。

本站标注来源为“索比光伏网”、“碳索光伏"、"索比咨询”的内容,均属www.solarbe.com合法享有版权或已获授权的内容。未经书面许可,任何单位或个人不得以转载、复制、传播等方式使用。
经授权使用者,请严格在授权范围内使用,并在显著位置标注来源,未经允许不得修改内容。违规者将依据《著作权法》追究法律责任,本站保留进一步追偿权利。谢谢支持与配合!
2月12日,国网山东电力发布2026年1月电力市场信息“明白纸”,包含现货市场实时平均价格、现货市场日前平均价格,中长期市场平均价格,市场偏差费用、分摊标准,新能源机制电价结算参考价。现货市场日前平均价格最高在18:00,为0.4017元/千瓦时;最低在14:00,为0.0814元/千瓦时。2026年1月,光伏发电新能源机制电价结算参考价为0.1448元/千瓦时,风力发电新能源机制电价结算参考价为0.2055元/千瓦时。
截至2026年2月22日,全国31个省均已开展一次或两次新能源机制电价竞价。31省、38次出清结果如下表所示:表:31个省新能源机制电价出清结果一、各省光伏项目机制电价情况从全国范围看,2025-2026年的机制电价呈现出清晰的“东高西低”格局。具体如下:从各省光伏项目竞价结果与燃煤基准价对比情况来看,山东2025年价差最高,达到0.1699元/kWh;上海、北京、宁夏、贵州价差为0,机制电价与燃煤基准价完全持平。
2月12日,贵州省发展改革委公布2025年新能源增量项目机制电价竞价结果。本次竞价范围为2025年6月1日至2025年12月31日投产的风、光项目。竞价上限风电、光伏均为0.3515元/千瓦时,竞价下限风电为0.19元/千瓦时,光伏为0.25元/千瓦时。现将竞价结果及有关事项通知如下:一、竞价结果经公开竞价和结果公示,2025年新能源增量项目机制电价竞价结果如下:风电22个项目入选,机制电量规模23.87亿千瓦时,机制电价0.3515元/千瓦时。
近日,由能源基金会支持、北京大学能源研究院牵头,天合富家数智能源研究院与山东环科电力科技有限公司共同参与的《分布式光伏入市交易机制与就地就近消纳模式研究》课题顺利通过结题评审。该研究立足于分布式光伏发展的关键转型阶段,旨在破解行业在消纳模式、收益机制等方面面临的现实难题,为构建可持续发展的产业生态提供支撑。作为综合能源领域的持续深耕者,天合富家始终以技术创新与前瞻研究驱动行业进步。
2月9日,国网新能源云公示了山西省2026年机制电价竞价出清结果,结果显示:按光伏竞价项目竞价出清结果:机制电量规模4625501.154兆瓦时,机制电价水平316.800元/兆瓦时,项目5272个。值得关注的是,此次风电、光伏的出清电价,与2025年12月19日公示的2025年度山西省增量新能源项目机制电价相比,均略微降低。部分入围项目如下图所示
2月2日,山东省发改委公布了山东省2026年机制电价竞价结果,共15087个新能源项目入围。根据《关于印发山东省新能源上网电价市场化改革实施方案的通知》、《关于印发山东省新能源机制电价竞价实施细则的通知》、《关于2026年新能源机制电价竞价工作有关事项的通知》等文件规定,已完成竞价材料提交、资质和履约保函审核、价格出清等程序,现将山东省2026年度新能源机制电价竞价出清结果予以公示。公示期:2026年2月2日至2月4日。
1月28日,国网新能源云发布《关于河南省存量新能源项目认定的公告》,对2025年6月1日(不含)前投产的风电、集中式光伏项目、公共电网连接点为10千伏及以上并网的分布式光伏项目进行公示。机制电量比例均为80%。根据河南136号文,存量项目机制电价按河南省现行燃煤发电基准价执行。增量项目方面,风电、光伏竞价申报充足率均为120%。2026年河南其中,光伏机制电量规模2796742.403兆瓦时,机制电价水平0.276元/千瓦时,项目58658个。
本次竞价机制电量总规模141.66亿千瓦时,其中风电122.24亿千瓦时,光伏19.42亿千瓦时。风电、光伏竞价申报充足率下限均为120%。机制电价申报价格单位为“元/千瓦时”,风电、光伏竞价申报上限均为0.36元/千瓦时,竞价申报下限为0.15元/千瓦时。风电、光伏机制电价执行期限为12年。一经查实,将按有关规定严肃查处。未尽事宜按照《广西壮族自治区新能源机制电价竞价实施细则(试行)》执行。竞价监督电话:0771—2328682(工作日)。
河南省发展和改革委员会关于印发《河南省深化新能源上网电价市场化改革实施方案》的通知豫发改价管〔2025〕902号各省辖市、济源示范区、航空港区发展改革委,国网河南省电力公司,河南电力交易中心,有关发电企业:现将《河南省深化新能源上网电价市场化改革实施方案》印发给你们,请认真贯彻执行。参与跨省跨区交易的新能源电量,上网电价和交易机制按照跨省跨区送电相关政策执行,不纳入可持续发展价格结算机制实施范围。
1月26日,云南省100兆瓦分布式光伏发电项目EPC总承包工程中标结果公告。本阶段根据云南省各地州区县光伏电站项目的太阳能辐射资源条件、地形地质条件、交通运输条件以及目前的光伏组件制造水平等进行了分析研究。综合考虑现场实施环境、政策以及其他同类型项目经验等因素,云南省各地州区县光伏电站项目规划建设规模为直流侧装机容量为125MWp,交流侧装机容量容量为100MWp,供电范围拟为云南省各地州区县内。本次招标规模为35000万元。
1月22日,国网新能源云公示河南省2026年风、光项目机制电价竞价结果,共58677个风电、光伏项目入围。根据《2025年河南省新能源机制电价竞价组织公告》,机制电量总规模:风电机制电量总规模39.13亿千瓦时、光伏机制电量总规模66亿千瓦时。竞价上下限:风电、光伏竞价上限均为0.349元/千瓦时,竞价下限风电为0.113元/千瓦时,光伏为0.121元/千瓦时。



