12月1日,国网新能源云公示河北南网、冀北电网新能源机制电价竞价结果。
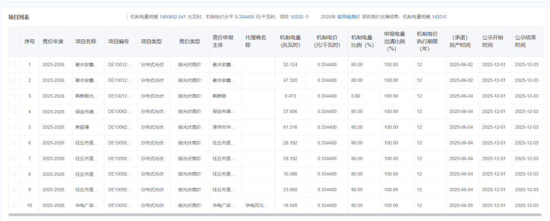
河北南网:根据公示结果,光伏机制电价为0.3344元/度,入围项目10320个,机制电量1400652.541兆瓦时;风电项目机制电价为0.353元/度,入围项目104个,机制电量14201070.167兆瓦时。
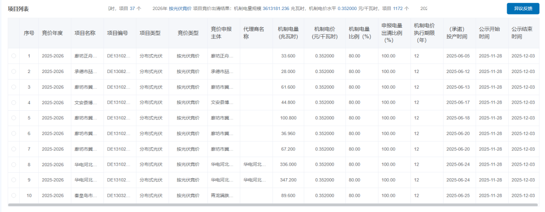
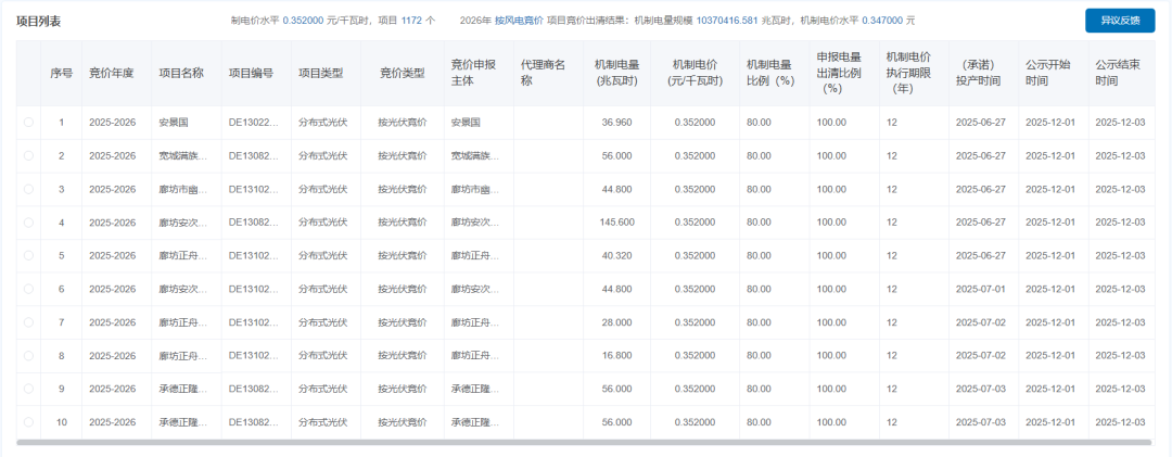
冀北电网:光伏机制电价为0.352元/度,入围项目1172个,机制电量3613181.236兆瓦时;风电机制电价为0.347元/度,入围项目37个,机制电量10370416.581兆瓦时。
根据竞价文件,河北南网风电245.83亿、光伏45.04亿度;冀北电网风电219.35亿、光伏138.56亿度。单个项目机制电量申报比例上限为80%。
电价方面,河北南网风电、光伏竞价上下限为0.2~0.3644元/度;冀北电网风电、光伏竞价上下限为每千瓦0.2~0.372元/度。风电、光伏执行期限分别为10年、12年。
从竞价结果来看,风、光项目机制电价贴近上限;从机制电量来看,河北南网机制电量为156亿度电,占安排机制电量比例为53%以上;冀北电网机制电量为140亿度电,占拟安排机制电量规模为40%左右。
具体见下:


冀北电网:


索比光伏网 https://news.solarbe.com/202512/02/50013746.html

