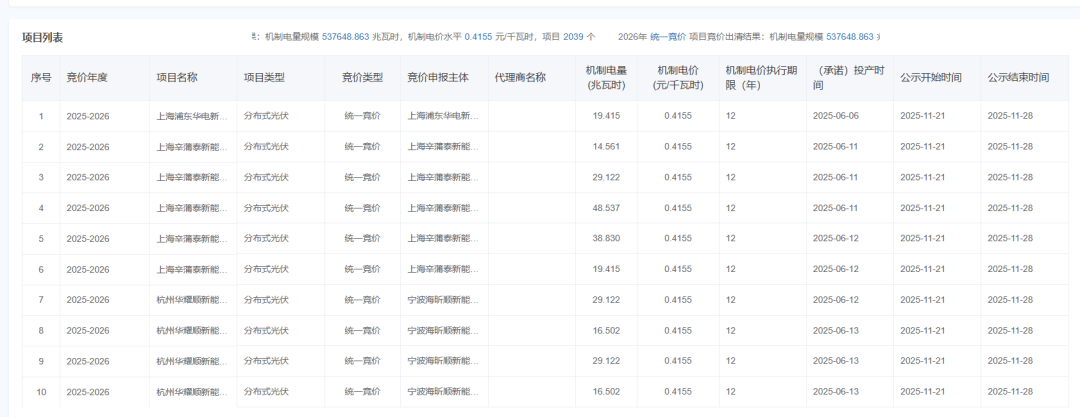
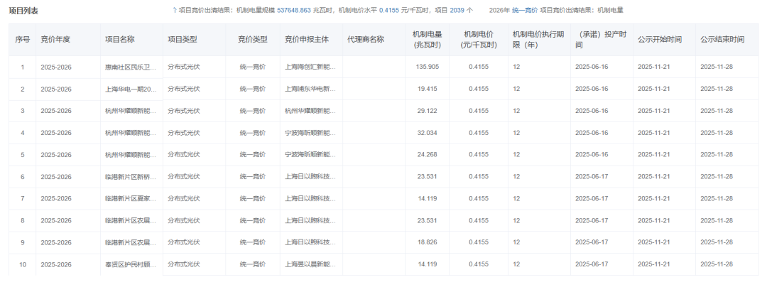
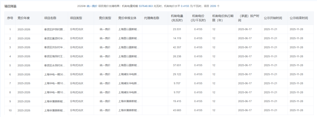
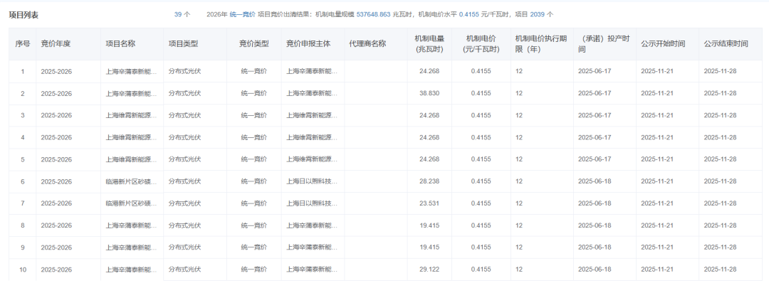
11月24日,上海市2025—2026机制电价竞价结果公示,机制电价0.4155元/度,入围项目2039个,机制电量537648.863兆瓦时。
根据竞价结果来看,集中式光伏入围10个,陆上风电项目2个,其余项目均为分布式光伏。
根据上海市136号文竞价要求,机制电量规模为22亿度,申报充足率为120%,单体项目申报上限为90%。
具体电价方面,申报上限为0.42元/度,下限为0.2182元/度,执行期限12年。
从竞价结果来看,机制电价几乎为上限报价。




索比光伏网 https://news.solarbe.com/202511/24/50013246.html

