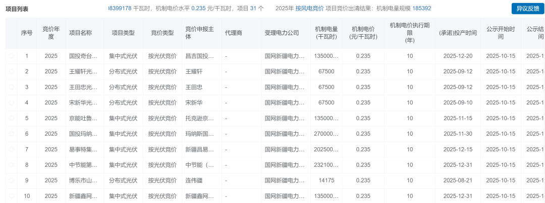
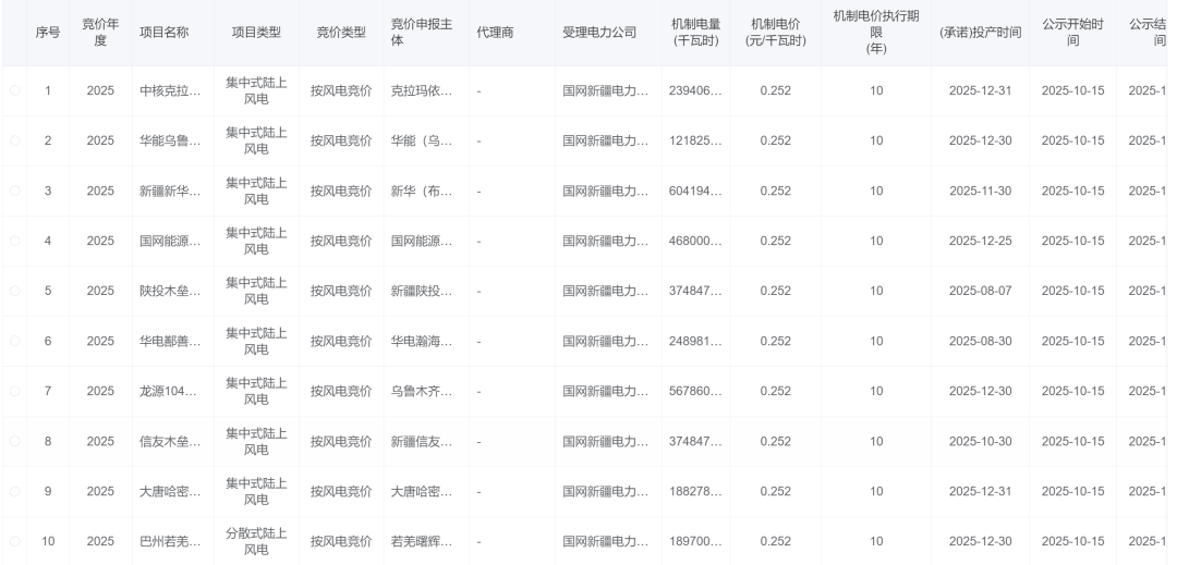
10月15日,国网新能源云平台公示新疆机制电价竞价结果,光伏出清结果为:机制电量规模为36亿千瓦时、共31个项目,机制电价0.235元/千瓦时;风电总规模为185亿千瓦时,共36个项目,机制电价0.252元/千瓦时。
新疆机制电价竞价按照电源类型风电与太阳能(含分布式光伏)分类竞价,增量项目竞价区间均为0.150元/千瓦时~0.262元/千瓦时,机制电价执行期限为10年,机制电量比例为50%。
部分结果如下:


索比光伏网 https://news.solarbe.com/202510/15/50010239.html

