索比光伏网讯:随着社会的发展和人民生活水平的提高,人们对于生活环境的安全性要求日益提高。安全可靠的报警系统已经开始进入商场、店铺、银行等重要单位或公共场合,甚至有些家庭也安装了报警系统。报警系统在保障公共、个人财产安全的同时,其性能之好坏也愈发显得重要。目前市场上的热释电红外报警系统功能较为单一,不能更好地起到安全防护的作用,不能更好地应付诸如断电等突发情况。本文介绍的光伏" title="光伏新闻专题">光伏红外远程报警系统把光伏电源与家用电源相结合、报警与录像监控相结合,再加上ZigBee无线热点传输技术,不仅拥有了比普通报警器更强的反破坏能力,还有环保低碳的特点。
1、总体设计方案
光伏红外远程报警系统总体设计图如图1所示。

1.1电源提供模块
(1)光伏电源为各个无线设备提供电力,为有线设备提供辅助电力。
(2)家用电源连接变压装置以及蓄电池构成供电电源。
1.2红外传感模块
无线热释电红外传感器利用菲涅尔透镜以提高传感器的灵敏度,并使传感器的检测范围具有指向性,并连接到红外传感信号处理电路,再接到报警控制主机的数字接口。无线传感器固定在隐蔽位置,和光伏电源蓄电池相连,通过无线通信芯片将信号传到主控机上。多个红外线应装置组成一个红外线感应网络,通过无线传感网络程序综合处理外界信号。
1.3GSM模块
模块采用无线拨号传输模块,由报警控制主机通过RS232串口连接手机拨号器,按预定程序拨出用户手机号码。
1.4录像与报警存储模块
摄像机大容量硬盘存储的嵌入式监控DVR模块,里面可以配置大容量硬盘作为前端存储介质,实现超长时长监控。多个摄像头存储图像真实性好,保留全部录像信息。为实现弱电控制强电,当报警控制主机发出信号时,通过继电器开关控制DVR模块,摄像头自动开启或关闭录像。当系统工作时,报警控制主机会发出指令使警铃报警,LED指示灯同时亮红灯;当系统休眠时,警铃不报警,LED指示灯亮绿灯。
2、电路设计
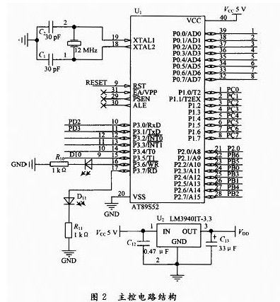
2.1主控电路
单片机采用ATMEL公司的AT89S52,它内部集成256B程序运行空间,8KBFLASH存储空间,支持最大64KB外部存储扩展,时钟频率可以设置在0~33MHz之间,片内资源有4组32个I/O控制端口、3个16位定时器、8个向量两级中断结构、软件设置在低能耗模式、还有看门狗和断电保护等。主控电路如图2所示。

它在4~5.5V宽电压范围内正常工作,功耗低,同时还支持计算机并口下载。AT89S52有多种封装,本设计中采用的是DIP-40的封装。
2.2光伏发电与家庭供电接口电路
主机采用太阳能电池和家用220V电源的双供电方式。当有家用电时,通过直流低压继电器巧妙断开太阳能电池;当家用电断开时,太阳能电池充当电源。
太阳能电池通过太阳能智能充电器连接太阳能板,充电器在阳光充足时为电池充电,充满电池时自动断开充电。在充足太阳是充电电流能达到1A以上,完全满足电路需要。
2.3GSM网络接入电路
本系统使用的是西门子公司的TC35系列GSM芯片TC35i与GSM2/2兼容、双频(GSM900/GSM1800)、RS232数据接口,TC35i由供电模块(ASIC)、闪存、ZIF连接器、天线接口等六部分组成。该模块及射频电路和基带与一体,向用户提供标准的AT命令接口,为数据、语音、短消息和传真提供快速、可靠、安全的传输。
2.4ZigBee协议无线通信电路(从片)
从片电路主要基于2.4GHz双向无线传输模块JF24C.该模块以较小的体积实现了告诉数据传输功能,速率最高可达1Mb/s,并具有快速跳频,向前纠错,CRC等功能。通过控器的信号,将信息通过电磁波的形式发射出去,临近的芯片控制相应的JF24CJ进行数据的接收,从而实现信息的传递。ZigBee电路设计模块如图3所示。

2.5电源电路及报警、录像监控电路
光伏电源和录像监控控制电路如图4所示。

报警电路采用一个简单高效的三极管放大电路,连接蜂鸣器或者可以选用大功率100dB以上的报警铃。
录像监控电路采用弱电控制强电的直流继电器,线圈端接单片机,直流电流端接DVR.
3、软件设计
从片编程算法流程图如图5所示。

主片编程算法流程图如图6所示。

4、实验结果
在室内模拟了该装置的工作环境,太阳能电池板暴露在室外(温度24℃)14时阳光直射下,采用三个从片相互协调实现信号检测与数据传输功能。
将蓄电池接到室内电源插座上,打开主控制器开关,LED界面显示“welcometozzu”英文字符,报警电话号码(1503819****)设定完毕后,直接转入工作模式。当靠近从片1约3.5m时,从片1发出报警信号并发送到最近的从片2,从片2检测到报警信号后又转发到主机上。当主机接收到报警信号后,显示器显示出“TERMINAL1”字样,并控制GSM模块向1503819****拨打电话。与此同时,报警器发出报警,摄像机实现录像的功能,并将数据存储起来。将蓄电池接到太阳能板上,断开室内电源,重复以上动作,实现了同样功能。经过30次实验,报警成功率为28次,无误报。
5、结论
经过实地测试,该系统的报警成功率为93%,能够较为准确地实现报警功能。
该系统是ZigBee协议与光伏发电在家庭防盗系统中的一次尝试性的成功应用,预期上述两种技术将在智能家庭领域有更广阔的前景。
索比光伏网 https://news.solarbe.com/201203/21/258433.html

